Пробоотборное устройство ПРО-11П

Пробоотборник ПАТ-800

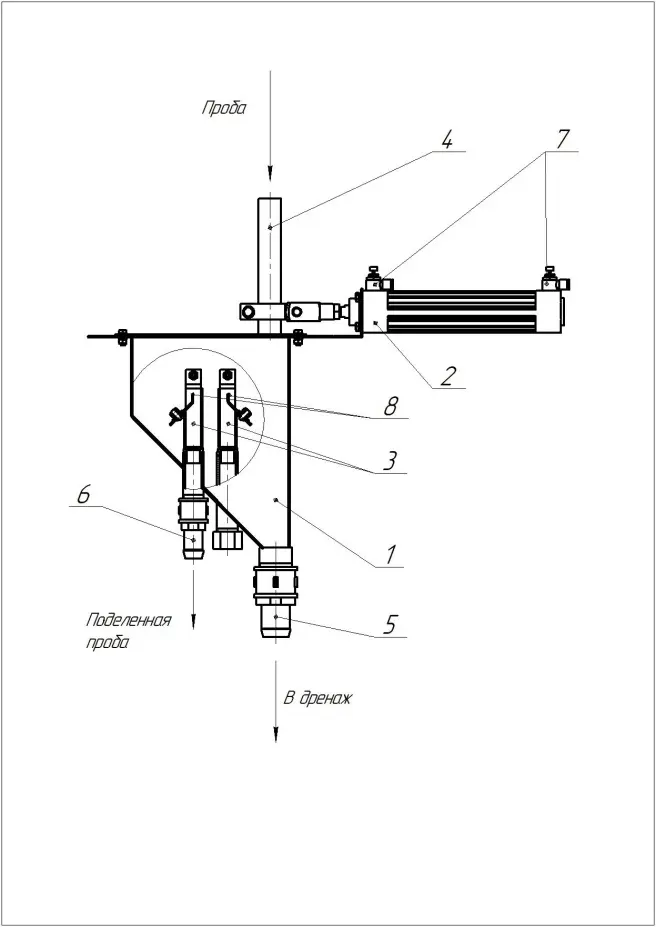
Пробоотборник вакуумный ПРО-28

Пробоотборник хвостовой автоматический ХАП-1800

Виброакустический анализатор ВАЗМ-1М

Виброакустический анализатор ВАЗМ−1М (далее ВАЗМ-1М) предназначен для оперативного контроля загрузки (технологической нагрузки) мельниц различного типа и другого технологического оборудования на основе комплексного анализа виброакустических сигналов и прогнозирования момента перехода мельниц (и другого оборудования) в перегрузочный режим.
Радиоизотопный преобразователь РП-24 (ПЛОТНОМЕР)

Радиоизотопный преобразователь РП-24 предназначен для преобразования информации о различных характеристиках объекта контроля в параметры выходного сигнала прибора путем использования результатов взаимодействия ионизирующего излучения с объектом контроля. Выпускается в общепромышленном и взрывозащищенном исполнении.
Установка ПИК-074П

Гранулометр «ПИК-074П» предназначен для автоматического контроля гранулометрического состава потоков пульповых продуктов, транспортируемых по трубопроводам и желобам.
Система АСАК

Основное назначение АСАК — экспрессное определение содержания: металлов (в том числе цветных и чёрных) и неметаллических элементов: кремния (), серы (), кальция () и др. Анализу подлежат предварительно высушенные и подготовленные пробы: продуктов флотации, порошковых материалов и сплавов металлургических производств.






